“伪日系”营销让元气森林打下了品牌知名度,也让它因此陷入了争议漩涡之中。
从成立到爆红,元气森林只用了四年时间。请乐队出了一首名为《元气畅想》的广告主题曲、把广告牌挂到上海最繁荣商区的地标性国际购物中心,去年天猫双11的全网销量排名冲到了第二名,新锐品牌元气森林早早迎来了自己的夏天。此前饮料市场是一个完全被可口可乐、百事可乐等大牌占领的领域。
最初,大众消费者通过一款苏打气泡水认识了这个不知名品牌。常见于便利店的气泡水瓶身有一个醒目的日文“気”字,还有一排小字示意饮料含量为“0糖、0脂和0卡”。这个爆款产品从0做到了月销售额近亿元。
短短这几行字道出了元气森林爆红的原因,它迎合了当下消费市场的健康风潮,也呈现出经过精心设计的外观包装。但此后它也因此陷入了持续不断的争议漩涡之中— —“伪日系”营销误导消费者。

元气森林产品线 图片来源:元气森林天猫店
迎上新消费的风口
近年来,一度被投资人认为“成长慢”、“天花板低”的新消费品牌正在成为风口,拿到投融资的品牌数量从2015年的27个增长到2019年的200个。专注消费投资的青山资本投资总监艾笑在接受36氪采访时说,过去她关注的案子横跨消费平台、品牌、社交赛道,而从2019年开始她只聚焦于消费。
在整个消费领域,随着以90后为代表的新一代消费者健康意识觉醒,越来越多消费者开始“冷落”高糖高脂碳酸饮料,“无糖低脂”饮料们从一片红海的饮料市场中脱颖而出。数据显示,2000年碳酸饮料国内市场份额占比为36%。2015年,这个数据已经下滑到13.7%。
元气森林正是从新消费的风口和健康饮食趋势中崛起的品牌之一。据企查查显示,元气森林隶属于元气森林(北京)食品科技集团有限公司(以下简称“元气森林”)。这家公司成立于2016年,在2018年5月、2018年5月、2019年3月和2019年10月获得了4次融资。业内人士近日还向《北京商报》透露,元气森林还在谋划建设自己的工厂,谋求短期内上市计划。
战略定位专家、九德定位咨询公司创始人徐雄俊提到,元气森林的走红,是由于其推出的产品主打“0糖0脂”,符合饮料发展的趋势以及年轻人的消费习惯。

图片来源:元气森林微博
元气森林旗下的所有产品均围绕“无糖专门家”这一概念,包括苏打气泡水、燃茶、果の每日茶、健美清茶和宠肌胶原蛋白水等在内,共同撑起这个本土品牌的牌面,也是击中广大消费者的最大亮点。从2018年到2019年,元气森林销售额从2亿元增长到7亿元。有业内人士透露,按照元气森林目前的增速,在2020年底有望达到20亿元销售额。
在消费端爆红的元气森林还遭到了投资机构的哄抢。为了在元气森林新一轮融资中争夺领投资格和份额,一线基金们拉开了激烈的拉锯战,其中龙湖资本甚至把价格大幅抬高。根据2019年10月31日公开披露的数据,由高榕资本、黑蚁资本等投资机构领投1.5亿人民币,完成战略投资后的元气森林估值达到37.5亿人民币。
“伪日系”营销受争议
这家现象级饮料公司的背后,还存在着一大质疑。如果你在搜索引擎使用关键词“元气森林”搜索时,会发现“日本”是与它高度相关联的词语。独具一格的商标和包装形象都让元气森林看起来很像一个日本品牌。直到最近由经济学家、清晖智库创始人宋清辉提出元气森林“伪日系”营销的说法,才将矛头指向了误导性营销。
他指出,今年6月底推出的北海牧场系列酸奶沿用了元气森林的“日系风格”。该系列5 款酸奶产品同样主打 “0 蔗糖 ” 概念,产品包装上 “気色酸奶 ”的命名依旧沿用了日文的“ 気 ”。资料显示,由元气森林100%持股的北海牧场成立于2019年6月6日,原名也是“元气系”,2019年9月由“气色(北京)乳品有限公司”更名为“北海牧场(北京)乳品有限公司”。

元气森林注册商标页面 企查查截图
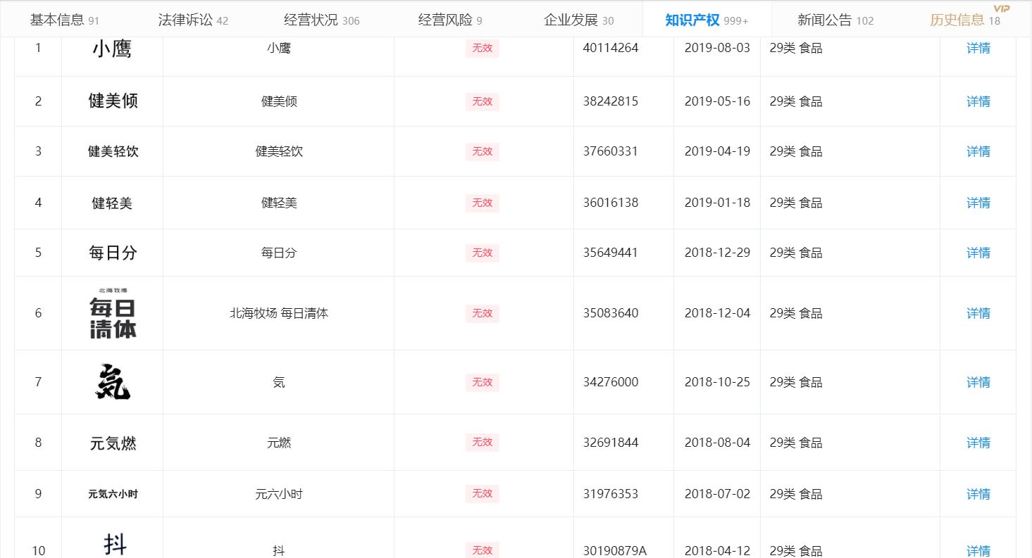
这种质疑声最早可以追溯到元气森林的爆款产品气泡水。它采用了日文汉字的“気”,而非中文“气”字,“元気”本身就是知名度广的日语用词,意为精力充沛、健康积极。经笔者查询企查查,元气森林还注册了大量的日系商标。比如每日分、每日清体、元気燃、元気六小时、江户茶寮、けしき、黒沢等。
在包装形象的设计上,元气森林推出的两款产品也遭到“撞款”的质疑。乳茶饮料包装上的小女孩卡通形象与不二家棒棒糖的包装形象相似度很高;在天猫旗舰店出售的一款名为“燃茶”的茶叶新品礼盒 ,其包装设计与日本著名茶叶品牌 LUPICIA 非常相似而被质疑。
作为一个诞生不久的新国货,元气森林的这种做法带着非常精准的营销风格。对于一个大众不熟悉的新品牌来说,快速打入消费市场的方式之一是对商标和包装形象等元素进行包装。而元气森林瞄准的受众——中国年轻一代消费者基本达成了一种共识,即日本食品的质量安全且颜值较高,因此主打日系风格的元气森林自然而然就拥有了同种光环。此前名创优品的营销方式也十分相似,它凭借日系名头获得了广泛关注。

图片来源:元气森林微博
至于这种打擦边球的营销方式是否构成抄袭,北京律众律师事务所副主任吴萌认为,元气森林的包装模仿痕迹明显,但不一定构成抄袭。根据知识产权法规定,被告是否构成侵权或者不正当竞争,要看产品的包装盒是否构成混同,可能导致消费者误认的结果。“这种判断要看普通人能否区别、或是否产生混淆,还要看原始设计的法律保护要素是什么。”